MPVs and SUVs generally have large storage space in the trunk for a wide variety of items.But when the speed changes or bumps in the process of driving, luggage storage items are easy to move up and down or slide back and forth, items will impact each other, at the same time the items will hit the interior panel, not only items and interior panel is easy to damage, but also due to the impact of the abnormal sound, affect ride comfort.Therefore, the luggage of MPV and SUV is generally provided with a net pocket to fix the items stored in the luggage.
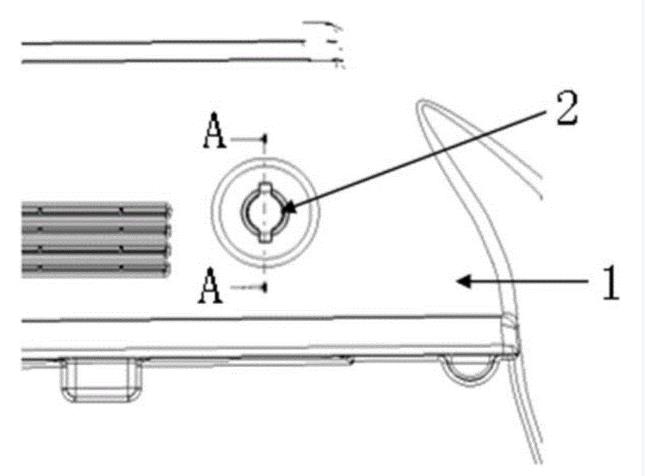
As shown in the figure, the decomposition diagram of the prior art net fixing structure consists of a base 02 fixedly connected to the interior trim panel 01 and a knob hook 03. The knob hook slides the clamping structure into the groove of the base through rotation and is fixed with the base.

The net fixed structure of the prior art has the following disadvantages:
1. The fixed structure of the net pocket is composed of two parts: the base and the knob hook. It needs two pairs of injection molds, and the economy is poor.
2. The installation of the net fixing structure needs to clamp the base on the interior panel first, and then turn the knob hook to fix the knob hook on the base. The assembly procedure is cumbersome and the efficiency is low.
3.The net fixing structure is fixed by clamping, and the strength is poor.